prismadiagramR

Travis build status AppVeyor build status CRAN status Lifecycle: experimental Codecov test coverage

The goal of prismadiagramR is to create a custom prismadiagram in R.

Installation

You can install the released version of prismadiagramR from CRAN with:

install.packages("prismadiagramR")

And the development version from GitHub with:

# install.packages("devtools")
devtools::install_github("ltrainstg/prismadiagramR")

Example

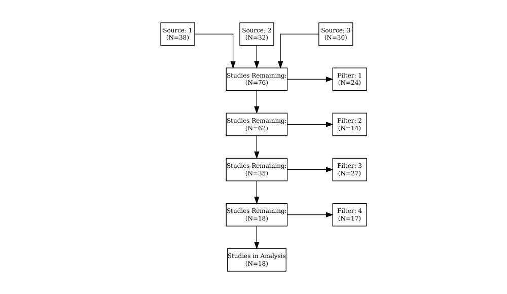
This example shows how to create a simple automated PRISMA from a publication tracker.


set.seed(25)
N <- 100
studyStatus <- data.frame(Pub.ID = seq(1:N), 
                          Source = sample(1:3, N, replace = TRUE),
                          Filter = sample(1:5, N, replace = TRUE))
studyStatus$Filter[studyStatus$Filter==5] <- NA  
getPrisma(studyStatus) %>% DiagrammeR::grViz(.)
#> Warning in getPrisma(studyStatus): prismaFormat is null so attempting to
#> make automatic one from studyStatus
#> Warning in getFormatNode(prismaFormat): fontSize param not passed in
#> prismaFormat

Other PRISMA resources

A few other R packages exist that also make PRISMA diagram that might be better for your needs.

  1. prismaStatement This also uses DiagrammeR, but the template is fixed.
  2. metagear This does not use DiagrammeR and is highly customizable, but is buried with many other functions and a little hard to get working.

Package Development Resources

This package was developed following these guides: